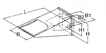
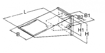
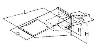
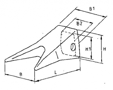
Zweischenkliger Anschweißhalter /Adapter System Caterpillar 30 330x56x32 mm EF 3G6304

{{.}}
{{/content}}{{{.}}}
{{/content}}