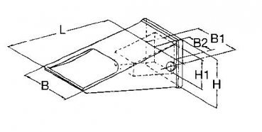
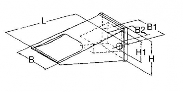
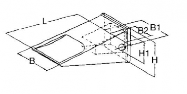
Zweischenkliger Anschweißhalter /Adapter System Caterpillar 40 346x65x44 mm EF 3G8354

{{.}}
{{/content}}{{{.}}}
{{/content}}