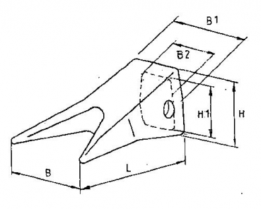
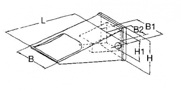
Zweischenkliger Anschweißhalter /Adapter System Caterpillar 45 390x70x48 mm EF 7T3404

{{.}}
{{/content}}{{{.}}}
{{/content}}