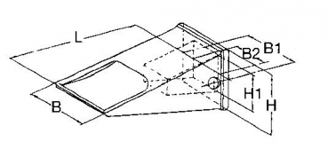
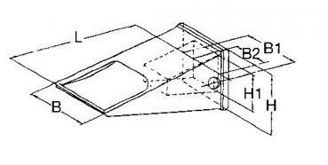
Zweischenkliger Anschweißhalter /Adapter System Caterpillar 50 420x85x50 mm EF 8E6464

{{.}}
{{/content}}{{{.}}}
{{/content}}