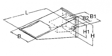
Zweischenkliger Anschweißhalter /Adapter System Caterpillar 60 520x108x60 mm EF 6I6554

{{.}}
{{/content}}{{{.}}}
{{/content}}