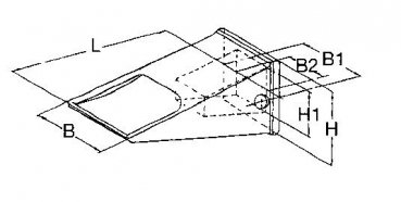
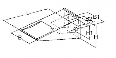
Zahnhalter /Adapter System Caterpillar 19-32 340x47 mm EF 1U1254

{{.}}
{{/content}}{{{.}}}
{{/content}}