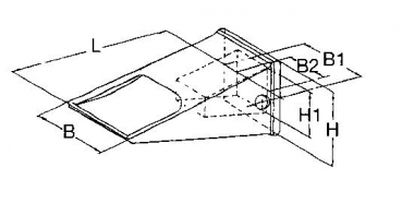
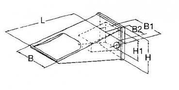
Bolzen für System Caterpillar 163-25 mm EF 6Y8558 - 1073378 - 1U1558

{{.}}
{{/content}}{{{.}}}
{{/content}}